This is a one page article that appeared in the February 1965 issue of Popular Science promoting the Colt ‘AR-15 Sporter’.

Around August of 2019, the internet came alive with second-hand word that Colt wasn’t going to sell their LE-series of AR-15’s to civilian consumers anymore. Many on the internet immediately jumped to the conclusion (incorrectly) that Colt had caved to anti-gun bureaucrats and cut off the civilian market. The reality was that Colt had excess inventory and were back-logged with military and law enforcement orders which was completely consuming their manufacturing capacity. Many believed that Colt was done. Many of us understood that Colt was simply balancing market realities and priorities and that once existing inventories got low and military/le contracts got caught up, Colt would begin production again.
On June 29, 2020 http://www.guns.com published a short article stating that Colt had announced it was going to start shipping commercial rifles again. You can see the story here: https://www.guns.com/news/2020/06/29/colt-now-shipping-ar-15s-to-consumers-again
After reading the guns.com article, I began watching the retail market and firearms sales sites like Gun Broker looking for the new rifles coming into the market. On October 3rd, 2020 on Gun Broker I saw the first listing for the new Colt AR-15’s. I was surprised to see that during the temporary hiatus from the market, Colt had revamped its AR-15 lower receiver design and manufacturing strategy.
The ‘Carbine’ Lower Appears
In an effort to streamline production and reduce production costs, Colt standardized the lower receiver markings to simply say ‘Carbine Cal. 5.56mm’. Above the text is the renowned ‘Rampant Pony’ that we know and love.

Many committed Colt AR-15 fans did not receive this lower receiver design change very well. After two to three months in the market, the reduction of ‘character’ in the lower receiver markings continues to draw criticism. Over the years we have become used to seeing rifle specific lower receiver nomenclatures like AR-15A2 Sporter II, AR-15A4, AR-15A4 Lightweight LE Carbine, M4 Carbine and M4A1 Carbine to name a few.

To put firearm specific nomenclatures on the lower receivers, Colt had to invest in roll dies for each different nomenclature, had to stop production cycles to change roll dies and replace the roll dies as they wear out. The cost estimates that I have seen for each Colt roll mark die was $90,000 to $130,000. What the cost really is, I do not know. Also during this time, we saw the full implementation of laser engraving on the rifles to replace the roll die process. Using one lower receiver nomenclature design enables Colt to use all of their lower receivers across their entire carbine product portfolio.
I completely understand and support Colt’s decision to eliminate the roll die process and the streamlining of their lower receiver production. The current AR-15, or Modern Sporting Rifle (MSR) market is exceptionally cost competitive. Colt rifles have historically been on the higher side of the civilian market price range. Streamlining lower receiver production and switching from roll dies to laser engraving helps Colt reduce their production cost per rifle and price their products more competitively. My hope with the switch to laser engraving is that perhaps one day we will see more new engraving designs since all it takes is the change of some programming code instead of investment in and maintenance of new roll dies.
As of this writing, I have seen three different ‘Carbine’ lower receiver rifle variations enter the market. The rifles have had the product number changed from the ‘LE’ product prefix to a ‘CR’ prefix. The first carbine that I saw appear, on October 3rd, was the CR6920 carbine.

The next revised carbine that I saw appear on the market, about ten days ago, was the CR6940.

And lastly, the CR6920MPS-B (CR6920 MagPul Stock- Black) has been seen for sale for about a week now.

Dealers have been posting the following information on their websites and auction posts which I assume is verbage provided by Colt or the distributors:
“For 2020, Colt has consolidated all Commercial & LE Rifle rollmarks under one common model naming nomenclature,”Colt Carbine”. This change allows for consistency in manufacturing across current and future rifle builds. Features on this model are identical to the prior LE6920 platform, with the exception of the changed rollmark”.
Prices for these three rifles are all over the place. Some dealers are simply charging suggested retail. Some dealers are charging significantly higher. As an example, I have seen CR6920’s as low as $999.00. The average has been $1199.00 to $1299.00. Some dealers are charging as high as $1999.00 for a simple CR6920 although I doubt anybody is paying that much. Personally, I am excited to see the revision of the AR-15 product line even if it isn’t exactly what we want because this shows us that we at least have some additional production and products to look forward to.
I’m not going to go into any additional details about each carbine in this article. I will discuss details of each more later. I have a CR6920 that is ready for me to pick up at my local FFL so I will write more on it in the coming weeks.
I completed this write-up about a week ago and it originally appeared on http://www.looserounds.com.
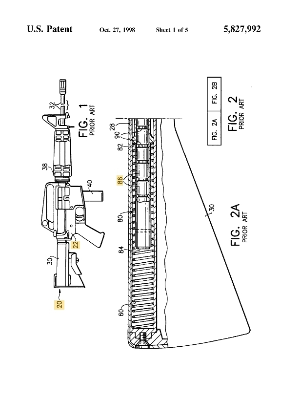
In 1996, Michael Harris and James Taylor, while working for Colt Manufacturing, designed and tested the Miniature Asssault Rifle System (MARS). MARS fired a specially designed 5.56mm x 30mm cartridge. The cartridge had a 55-grain projectile.




Colt filed a patent application in 1997 which was granted in 1998 as patent US5827992A. The patent was expected to expire June 19, 2016.

The Colt MARS weapon never entered production.
For additional information, see Christopher Bartocci of Small Arms Solutions article from July 13, 2012 published at http://www.smallarmsreview.com

http://www.smallarmsreview.com/display.article.cfm?idarticles=1239
The third firearm in the Colt ‘Military Classics’ series has officially hit the market. The CRGAU5AA is a limited edition firearm of which only 500 are being produced. The MSRP is $2599.00

Larry Vickers discusses this new rifle in detail on YouTube at this link: https://youtu.be/MCy6x9k6QLk
The two prior firearms in this series are written about here and are the CRM16A1 and CRXM177E2. They were both limited editions of 1500.
Today we remember you and celebrate your service to this great nation. Thank you!

India had a parallel evaluation program going on for the selection of a Close Quarters Battle weapon during the India MCAR evaluations that I have written about here previously.

As part of the CQB evaluation, Colt submitted LE6945 carbines that did not have bayonet lugs. India wanted to maintain the bayonet capability on their CQB weapon so Colt proposed this bayonet for the program.
The bayonet uses a section of 1913 rail for attachment instead of a bayonet lug.
More to come on this soon.
Posting this on the go. There is an auction for a rare Colt 7.62x39mm India evaluation upper receiver that ends today 3 November.

If you look at the auction, the seller used some of my photos and text from my article. The upper is pricey but rare things are not often cheap. These originally sold for $1000.
Colt produced about 25 of these 7.62x39mm SOCOM barrel upper receivers as part of their submission for the India Multi-Caliber Assault Rifle (MCAR) competition. See my article here:
https://thecoltar15resource.com/india-mcar-test-upper-5-56mm/
The 7.62x39mm SOCOM barrels in these upper receivers are the only 7.62x39mm SOCOM barrels produced by Colt.
Have a great day!